文/北京市集佳律師事務所 張亮
2024年10月17日,北京知識產權法院發布《專利授權確權審判案析(2014-2024)》(以下簡稱《確權案析》)。《確權案析》中包含了北京知識產權法院從審結的一萬余件案件中精選的58件典型示例,其中大部分案例涉及創造性評價的審判規則。本文從中遴選了7件與技術領域有關的案例,結合個人實務經驗,對典型案例中體現的“技術領域對創造性評價的影響”的審判規則進行分析和解讀,總結對我們實務工作的啟示,以期能夠幫助對專利確權確有需求者更好地理解《確權案析》中的裁判規則,并將其運用到專利申請、復審、無效和行政訴訟工作中。
案例1:(2016)京73行初5648號
201080019204.X用于監視床的電極布置案[i]
案件背景
本案系針對申請人利納克公司的申請號201080019204.X,名稱“用于監視床的電極布置”的發明專利PCT申請(簡稱“本申請”)的第112004號復審請求審查決定(簡稱“被訴決定”)的行政訴訟案,案號為(2016)京73行初5648號。根據說明書的記載,本申請的技術領域為:用于床、特別是病床或護理床的設備。此外,本發明涉及用于測量床墊片是否濕的方法;其技術問題為:“提供一種在監視床方面故障安全的方案,指示床是否濕,并且同時提供一種便宜和簡單的方案。同時要求一種考慮了人的安全性和人的舒適性的方案。”原告利納克公司經兩次修改后的獨立權利要求包括權1和權8,在此僅以權1為例:
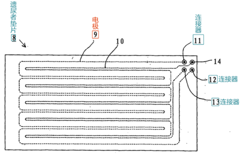
權1.一種用于指示床是否濕的設備,所述設備包括:具有兩個電極(9,10)的遺尿者墊片(8),所述電極(9,10)為導電材料的,并且,電極(9,10)相互間隔地布置在遺尿者墊片(8)中或遺尿者墊片(8)處;用于測量電極(9,10)之間的電阻、電容或阻抗的測量電路;用于基于來自測量電路的測量來確定遺尿者墊片(8)是否濕的控制單元,其特征在于,各電極(9,10)在兩端具有用于連接電極(9,10)與測量電路的電連接點(11,12,13,14),并且測量電路被裝備以通過在各電極(9,10)的兩個電連接點(11,12;13,14)之間執行導電測試來執行電極(9,10)是否完好的測試。

201080019204.X號專利附圖
在駁回決定中,審查員引用了兩篇對比文件,分別是對比文件1,公開號為WO2009002180A1,名稱為水檢測器的PCT發明專利申請公布文本;對比文件2,公開號為CN1380547A,名稱為:用于尿布等的潮濕檢測裝置和具有這種裝置的尿布的中國發明專利申請公布文本。被訴決定認定本申請相對于對比文件2的區別技術特征主要為:(1)遺尿者墊片用于床上;(2)測量電路被裝備以通過在各電極的兩個電連接點之間執行導電測試來執行電極是否完好的測試。本申請相對于最接近的現有技術實際解決的技術問題為:如何指示床是否濕以及進行電極完好性測試。針對區別特征(1),對于本領域技術人員來說為了實現對床上遺尿的檢測,而將遺尿者墊片用于床上屬于本領域常規技術手段。針對區別特征(2),對比文件1和2同屬于對濕度檢測的技術領域,對比文件1公開了一種濕度檢測裝置,給出了對電極是否完好性檢測的技術啟示,本領域技術人員能夠想到將其應用于對比文件2中,并進一步轉用于床濕度檢測領域,因此,本申請不具備創造性。

對比文件1,WO2009002180A1附圖

對比文件2,CN1380547A申請附圖
法院觀點
一審法院認為:本領域技術人員知曉的僅是最接近現有技術這一發明的起點,如果本領域技術人員不會朝著被結合現有技術的方向進行檢索,則本領域技術人員將不會發現該現有技術,相應地,在其僅知曉最接近現有技術的情況下,將很難得出訴爭發明相對于案件中全部對比文件的結合不具備創造性的結論。
本案中,在對比文件1為最接近的現有技術時,一方面,對比文件1涉及一種水檢測器,其應用于在大面積范圍內檢測建筑物和構筑物內水分含量,以保證建筑安全;其與對比文件2檢測的對象完全不同,應用的場景和目的差異較大,確屬不同的技術領域。另一方面,對比文件1也未給出對電極完好性進行測試的技術啟示。在評價本申請權利要求1的創造性時,本領域技術人員沒有動機將對比文件1和對比文件2結合進行評述,二者的結合存在技術障礙。
對比文件2作為最接近的現有技術時,由于對比文件2為一種用于指示尿布是否潮濕的檢測裝置,其應用領域為一次性尿布,但本申請系一種用于指示床是否濕的設備,其應用領域為床。因在對比文件2所應用的一次性尿布領域客觀上不可能存在“難以指示床是否濕”這一技術問題,因此,本領域技術人員在看到對比文件2的技術方案時,便不會產生解決“如何指示床是否濕”這一問題的動機。在不存在這一動機的情況下,其顯然不會為解決上述問題而去檢索現有技術,亦即,其不會發現對比文件1,并進而將其中的相應技術特征與對比文件2相結合從而獲得本申請權利要求1的技術方案。由此,在以對比文件2為最接近現有技術的情況下,無法得出本申請權利要求1相對于對比文件2與1的結合不具備創造性的結論,被訴決定有關本申請權利要求1不具備創造性的認定有誤。
實務啟示
在運用“三步法”創造性判斷規則時,最首要的就是確定最接近的現有技術,即選擇適格的現有技術作為發明創造的起點。《專利審查指南》第二部分第四章3.2.1.1給出了兩種最接近現有技術選擇的方法:(1)選擇與要求保護的發明技術領域相同,所要解決的技術問題、技術效果或者用途最接近的現有技術。(2)公開了發明的技術特征最多的現有技術,或者雖然與要求保護的發明技術領域不同 ,但能夠實現發明的功能,并且公開發明的技術特征最多的現有技術。據此,在具體實務中,可以按照以下順序依次選擇:

本案給我們的另一個啟示是:在選擇最接近的現有技術時,還需要密切關注最接近的現有技術是否存在區別特征實際解決的技術問題。這也是決定該現有技術是否有資格作為發明的起點的關鍵依據。如果現有技術中客觀上不可能存在區別技術特征所實際解決的技術問題,則本領域技術人員不可能有動機去現有技術中尋找解決技術問題的技術手段,則也就根本上不存在于其他對比文件進行結合得到本申請的技術方案了。

案例2:(2018)京行終2307號
201020149855.8液壓開孔器案[ii]
案件背景
本案系針對蔡光華擁有的專利號201020149855.8(公開號CN201659199U),名稱“液壓開孔器”的實用新型專利(簡稱“涉案專利”)的第25420號無效請求審查決定(簡稱“被訴決定”)的行政訴訟案,一審案號為(2015)京知行初字第3885號,二審案號為(2018)京行終2307號。根據說明書的記載,涉案專利的技術領域為:對鋼軌進行打孔作業的液壓開孔器,涉及液壓工具技術領域。發明目的為:“提供一種操作方便、機體不易損壞的液壓開孔器。”
蔡光華在無效程序中修改后的權利要求1為:
一種液壓開孔器,包括油泵、油管、開有可容納鋼軌的空腔的機體、安裝于機體內的油缸、設于油缸內的活塞和活塞桿、位于空腔一側的擠孔陽模、位于空腔另一側的擠孔陰模、出料孔,所述擠孔陽模安裝于活塞桿前端,活塞桿、擠孔陽模、擠孔陰模三者的中心線在同一條直線上,其特征在于:所述機體為下端封閉的環狀結構,開有可容納鋼軌的空腔位于機體中部。

CN201659199U號專利附圖
被訴決定主要使用了無效請求人江蘇虹晨液壓機電制造有限公司提交的證據1,CN101259503A號,名稱為沖孔裝置的中國發明申請公布文本、證據2,CN2153576Y號,名稱為液壓擠孔機的中國實用新型專利公告文本。
以證據1為最接近的現有技術,權利要求1相對于證據1的區別特征為:(1)權利要求1包括油泵、油管,證據1未公開油泵、油管;(2)權利要求1采用擠頭陽模和擠頭陰膜配合形成開孔。實際解決的技術問題為:機體形成一個環狀封閉結構,以克服下端開放結構帶來的機體易損的技術問題。由于證據2是涉案專利的背景技術,用于鋼軌工件的沖孔,與證據1用于汽車制造中的管件加工的加工工件不同,加工目的和原理也不相同,無改進動機以解決相應的技術問題,因此其兩者之間沒有結合的技術啟示,涉案專利具備創造性。
以證據2為最接近的現有技術,權利要求1相對于證據2的區別特征為:權利要求1的機體為下端封閉的環狀結構,開有可容納鋼軌的空腔位于機體中部。實際解決的技術問題:提供一種加強機體強度、機體不易損壞的液壓開孔器。涉案專利的空腔為一容納待沖孔工件的空腔,其作用主要是通過機體的環狀封閉結構來降低下端不封閉結構所帶來的機體易損壞的技術問題。雖然證據1中空腔14的四周封閉,但其封閉有其特殊的目的,沖頭20、模具及其空腔14、支撐桿70與加工對象即管件16之間需要密切配合、相互作用,也即,證據1中模具設置的目的與本專利并不相同。因此,證據1沒有給出明確啟示,涉案專利具有創造性。

證據1,CN101259503A附圖

證據2,CN2153576Y附圖
法院觀點
上訴人(原告)的主要上訴理由為:證據1、2在加工對象、目的、模具設置原理等方面都不相同,本領域技術人員沒有將證據1、2的技術方案相結合的技術啟示。對此,一審、二審法院均認為:證據2公開了一種液壓擠孔機,證據1和涉案專利均系液壓沖孔裝置,均系利用液壓原理將部件沖孔,三者的技術領域相同,設置原理基本相同,僅是加工的部件不相同,涉案專利與證據1加工的部件為鋼軌,證據1加工的部件為管件。
針對證據2與證據1這一結合方式,法院認為,證據1中下模具及上模具配合構成的空腔的作用是平衡管件內部流體向外的壓力,從而達到良好的沖孔效果。且證據1中的操作對象管件系中空的,硬度較小,對其沖孔時,對空腔兩側模具的沖擊不大,證據1中并沒有減小對空腔兩側模具沖擊的需求。證據2的液壓擠孔機其操作對象是礦山鋼軌,作用是對鋼軌的雙壁擠孔。因鋼軌硬度較大,對其擠孔時,下端開放的機體兩側受到的沖擊較大,使機體容易受損。在面對證據2現有技術存在的上述技術問題時,本領域技術人員沒有動機將證據1中所應用的下模具及上模具配合構成的空腔應用到證據2中以解決相應的技術問題,即就解決機體易受損問題而言,證據1、證據2兩者沒有結合的啟示。因此,證據1沒有明示或暗示關于將環狀結構應用于鋼軌開孔器中以加強機體強度、使機體穩固不易受損的技術內容,且目前亦沒有充分的證據表明這是本領域的公知常識。故涉案專利相對于證據2與證據1的結合具備創造性。
但如果以證據1作為最接近現有技術,在面對證據1存在的:機體形成一個環狀封閉結構,以克服下端開放結構帶來的機體易損的技術問題時,由于區別技術特征(2)已被證據2公開。液壓裝置包括油泵、油管是本領域的公知常識。因此,涉案專利權利要求1相對于證據1與證據2和公知常識相結合不具備創造性。
實務啟示
《最高人民法院關于審理專利授權確權行政案件適用法律若干問題的規定(一)》第十二條規定:人民法院確定權利要求限定的技術方案的技術領域,應當綜合考慮主題名稱等權利要求的全部內容、說明書關于技術領域和背景技術的記載,以及該技術方案所實現的功能和用途等。
本案被訴決定認為“證據2與證據1的加工工件不同,加工目的和原理也不相同”,而法院判決認為,“涉案專利、證據1、2均系液壓沖孔裝置,均系利用液壓原理將部件沖孔,三者的技術領域相同,設置原理基本相同,僅是加工的部件不相同。”可見,法院更傾向于以技術方案所實現的功能和用途來認定所屬技術領域。
本案給我們另一個啟示是,選擇不同的最接近的現有技術,得到的實際解決技術問題不同,對與其結合的現有技術的領域要求以及公開的技術特征、啟示的要求亦不同。
案例3:(2015)京知行初字第6679號
200980149984.7氫捕獲材料、制備方法及應用[iii]
案件背景
被訴決定系被告國家知識產權局針對原告原子能委員會就名稱為“氫捕獲材料、制備方法及應用”的第200980149984.7號PCT發明專利申請(簡稱本申請)所提復審請求作出的。根據說明書的記載,本發明提出一種材料,所述材料在礦物基質(mineral matrix)中包含至少一種涂覆的吸氫劑(hydrogen getter),并且所述材料用于處理尤其是在放射性廢物的運輸安全和儲存的可逆相的范圍內的氫氣危險。利用所述裝置可以在長時間內,在含放射性材料的封閉外殼內或不在所述封閉外殼內,將可燃氣體,尤其是氫除去,這種裝置應該易于操作和制備并且對輻射分解不敏感。
本案訴爭焦點主要在獨立權利要求5的創造性問題。原告在復審程序中修改后的獨立權利要求5為:
一種能夠容納放射性材料的封閉外殼,所述放射性材料可以通過輻射分解或化學反應產生至少一種可燃氣體,其特征在于,所述外殼進一步容納根據前述權利要求中任一項所述的至少一種材料。
針對權利要求5的創造性,駁回決定引用的對比文件如下:
對比文件1:US3939006A,公開了一種在封閉電池中阻止氫氣聚集的氫氣吸收材料(相當于能夠捕獲可燃氣體的材料),包括能夠和氫氣發生化學反應的物質、催化氫氣發生反應的催化劑、以及能夠與前兩種材料相容并且賦予氫氣吸收材料一定形狀的粘結劑。粘結劑可以是無機水泥,如波特蘭水泥(相當于膠凝基質)。能夠和氫氣發生化學反應的物質可以是MnO2或Ag2O(相當于膠凝基質中包含至少一種金屬氧化物)。該氫氣吸收材料可封裝于單個電池中,也可用于其他需要吸收氫氣的封閉容器中。
對比文件2:DE3730743A1,公開了一種在存儲核廢料的封閉容器(相當于能夠容納放射性材料的封閉外殼,且放射性材料可以通過輻射分解或化學反應產生氫氣)內減少氫氣聚集的方法,將能和氫氣反應的物質加入到核廢料中,能和氫氣反應的物質例如封閉電動車電池中使用的吸氫物質。
被訴決定認定最接近的現有技術對比文件1相對于本申請權利要求5的區別技術特征為:(1)氫氣吸收材料的應用場合不同,權利要求5限定將氫氣吸收材料放置在能夠容納放射性材料的封閉外殼內,放射性材料可以通過輻射分解或化學反應產生至少一種可燃氣體,而對比文件1公開的氫氣吸收材料放置在封閉的電池內。(2)膠凝基質是地聚膠凝基質。實際解決的技術問題為:降低封閉核廢料的容器內聚集的氫氣濃度、選擇另一種膠凝基質的替代方案。
法院觀點
法院認為,被訴決定認定本申請實際解決的技術問題為“降低封閉核廢料的容器內聚集的氫氣濃度、選擇另一種膠凝基質的替代方案”,這一認定意味著對比文件1客觀存在“封閉核廢料的容器內聚集的氫氣濃度過高”這一技術問題。只有如此,本領域技術人員才有可能產生解決該問題的動機,并基于這一動機去檢索現有技術以獲得解決該技術問題的技術手段,最終獲得本申請權利要求5的技術方案。對比文件1為一種用于電池中的吸氫材料,本申請權利要求5雖亦包含吸氫材料,但該產品為一種封閉核廢料的容器。因對比文件1的應用領域為電池,而非封閉核廢料的容器,其客觀上不可能存在“封閉核廢料的容器內聚集的氫氣濃度過高”這一技術問題,因此,本領域技術人員在看到對比文件1的技術方案時,便不會產生“降低封閉核廢料的容器內聚集的氫氣濃度”的動機。在不存在這一動機的情況下,其顯然不會為解決上述問題而去檢索現有技術,亦即,其不會發現對比文件2,并進而將其中的相應技術特征與對比文件1相結合從而獲得本申請權利要求5的技術方案。由此可知,在以對比文件1為最接近現有技術的情況下,無法得出本申請權利要求5相對于對比文件1與2的結合不具備創造性的結論。
對于權利要求5而言,比較合理的評述邏輯應是將同屬核廢料領域的對比文件2作為最接近現有技術。雖然其相對于對比文件1公開了較少的技術特征,但其卻可能使本領域技術人員產生解決問題的動機?;谶@一動機,本領域技術人員會尋求相關技術手段以解決其所存在問題,從而有可能發現對比文件1。如果本申請權利要求5相對于對比文件2的區別特征已被對比文件1公開或屬于慣常技術手段且有結合啟示,則可以據此而認定本申請權利要求5不具備創造性。
盡管如此,因本案為駁回復審案件,而專利法中未規定部分授權制度,在本申請除權利要求5、14以外的其他權利要求不具備創造性的情況下,本申請仍不應被授權,故盡管被訴決定中有關權利要求5、14不具備創造性的認定有誤,但其有關維持駁回決定這一結論正確。
實務啟示
發明創造的實際產生過程通常可以模型化為:基于現有的技術A,發現技術A中存在的技術問題A’,技術人員隨機在現有技術中尋找可以解決該技術問題的現有技術手段,經過實驗和驗證,最終得到可以解決該技術問題A’的技術方案,即發明創造本身。這個過程中,技術人員的思維是“天馬行空”式不受限制的。

而專利創造性判斷的“三步法”則是在后評價已經做出的發明創造,其必然要基于專利的技術方案、技術背景以及本領域技術人員所能夠具備的基本知識,換言之,要受到相應的能力限制。

正如一審判決中所述,“專利法中創造性判斷的實質是以本領域技術人員為主體對發明創造的重構過程,而非對各對比文件中所公開內容的機械結合。因此,這一判斷邏輯并非是以本領域技術人員知曉全部對比文件為前提,而是按照發明創造的客觀規律,以最接近現有技術為起點,判斷本領域技術人員基于其對現有技術整體的理解,在看到最接近現有技術時,是否可以發現其所存在的問題,并以解決該問題為目的進行檢索以獲得被結合的現有技術。”
因此,我們在實務中需要密切注意本申請相對于最接近的現有技術的實際解決的技術問題的具體領域,包括應用領域、功能領域。然后在領域相同、相近或者功能相關的領域中尋找用于結合的現有技術,從而避免盲目劃定過大的檢索范圍,浪費大量的工作量,最終可能得到的對比文件在解決的技術問題這一方面即不滿足要求。
案例4:(2015)京知行初字第2527號
201010182156.8防泡顆粒[iv]
案件背景
被訴決定系被告國家知識產權局針對瓦克化學股份公司(簡稱瓦克公司)名稱為“防泡顆粒”的第201010182156.8號發明專利申請(簡稱本申請)所提復審請求作出的74856號專利復審決定(簡稱被訴決定)。根據說明書的記載,本發明涉及防泡顆粒,含有脲或三聚氰胺、或它們的混合物與烷醛(alkanal)的多孔共聚物,以及液體硅酮防泡組合物。
本案訴爭焦點主要在獨立權利要求1的創造性問題。權利要求1:
防泡顆粒(P),含有(A)脲或三聚氰胺、或它們的混合物與烷醛的多孔共聚物,以及(B)在0℃時為液體的硅酮防泡組合物,其中硅酮防泡組合物(B)含有至少一種具有通式(2)的單元的有機硅化合物(C),Ra(R1O)bR2cSiO(4-a-b-c)/2(2)其中R是氫原子,單價、SiC鍵合的、可選地取代的脂肪族烴基,或通過脂肪族基團連接到硅原子的芳香族烴基,所述基含有1至18個C原子,R1是氫原子或單價、可選地取代的具有1至30個C原子的烴基,R2是單價、可選地取代的具有6至18個C原子的芳香族烴基并通過環碳原子連接到硅原子上,且a、b、c表示數值0、1、2或3,條件是a+b+c的總和小于或等于3,且每個分子,在通式(2)的所有單元的1-100%,優選地10-60%,更優選地20-40%中c不是0,且在所述有機硅化合物中通式(2)的所有單元的至少50%中a+b+c的總和是2。
被訴決定認為:對比文件1:CN1745167A,公開了一種洗滌劑和織物軟化劑配方,實施例4公開了組分(A),其與權利要求1的區別特征在于組分(B)的結構不同,具體地,權利要求1限定了(B)硅酮防泡組合物的具體組成,對比文件1實施例4使用的是Ultratex7649硅氧烷油。本申請權利要求1相對于對比文件1實施例4實際解決的技術問題僅是提供了一種防泡顆粒組合物的替代配方,因此,本申請權利要求1是否具備創造性的關鍵在于,現有技術中是否存在將(B)硅酮防泡組合物用作防泡劑的技術啟示。對比文件2:CN1950136A,除泡組合物,公開了區別特征組分(B),且其也作為除(消)泡劑組合物的組分使用,本領域技術人員有動機使用上述有機硅化合物的組合物代替對比文件1實施例4的Ultratex7649硅氧烷油,與載體PergopakM結合形成防泡顆粒,并且預期其能達到相應的技術效果。因此,在對比文件1的基礎上結合對比文件2和公知常識,得出權利要求1所要求保護的技術方案,對本領域的技術人員來說是顯而易見的。
原告訴訟的理由主要包括:(1)最接近的現有技術認定錯誤;(2)對比文件1領域不同,不存在結合啟示;(3)權利要求1具有預料不到的技術效果。
法院觀點
法院認為,審查指南中依據密切程度可能涉及的情形對于最接近現有技術的確定規定了相關參考因素,其目的便在于為審查員及無效請求人提供有價值的指引,以盡可能確保只有真正對現有技術整體具有技術貢獻的發明創造方可獲得授權,從而提高授權質量。盡管如此,“最接近的現有技術”仍僅是創造性判斷的起點,其僅可能通過對創造性判斷的結論產生影響而間接發揮作用,其本身并非單獨的授權條件。換言之,最接近現有技術的確定并無對錯之分。即便具體案件中所確定的最接近現有技術與訴爭發明創造并不“最密切相關”,甚至并不“相關”,法院亦不會因此而撤銷被訴決定。
對比文件1領域雖然不同,但在硅氧烷油的常見用途之一是消泡劑的情況下,本領域技術人員當然可以認識到這一混合物具有消泡的作用。相應地,本領域技術人員基于前述認知有動機將該混合物中的消泡劑硅氧烷油替換為其他消泡劑,以達到預期技術效果,因此,原告認為本領域技術人員不會基于消泡的目的而將對比文件1、2相結合的主張不能成立。
實務啟示
最接近的現有技術的地位相當于真實研發過程中的起點,“最密切相關”具有參考指引作用,并非授權的條件之一。因此,只要能夠通過創造性“三步法”判斷規則的檢驗,無論選擇的最接近的現有技術與本申請是否“最密切相關”,均不影響得出不具備創造性的結論。
此外,在確定現有技術的領域時,還需要注意類似本案這種對比文件的技術方案具有其他“公知”的功能或作用,避免忽略技術實質性的內容而導致對技術領域認定錯誤,從而錯過可用的對比文件的情況發生。
案例5:(2015)京知行初字第5974號
201020130726.4一種乒乓球拍[v]
案件背景
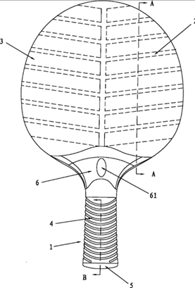
被訴決定系被告國家知識產權局針對王才本擁有的名稱為“一種乒乓球拍”的第201020130726.4號(CN201643580U)實用新型專利(簡稱涉案專利)所提無效請求作出的26731號專利無效請求審查決定(簡稱被訴決定)。
本案訴爭焦點主要在獨立權利要求1的創造性問題。權利要求1:
一種乒乓球拍,包括手柄1、底板2和位于底板上的彈性面板3,其特征在于:所述手柄1和底板2由塑料材料和玻璃纖維注塑成型制成,彈性面板3與底板通過注塑的方法固定連接在一起,手柄1的表面注塑有天然橡膠、人工橡膠、硅膠或塑料膠粒制成的防滑層4;所述彈性面板3由天然橡膠、人工橡膠、硅膠或塑料膠粒制成;所述制成底板2的塑料材料是PP、ABS或聚丙烯;所述塑料膠料為PPE、PU、TPU、EPDM或POE。

CN201643580U一種乒乓球拍附圖
無效請求人廣州雙魚體育用品集團有限公司(簡稱雙魚公司)針對權利要求1主要提交了兩份證據,附件1為CN1827194A的中國發明專利申請公開說明書,其公開了一種乒乓球拍,其相對于涉案專利權利要求1的區別技術特征為:(1)手柄和底板采用注塑成型,彈性面板與底板通過注塑的方法固定連接在一起;(2)手柄和底板材料中的纖維為玻璃纖維,所述制成底板的塑料材料是PP、ABS或聚丙烯,所述彈性面板由天然橡膠、人工橡膠、硅膠或塑料膠粒制成,所述塑料膠料為PPE、PU、TPU、EPDM或POE;(3)手柄的表面注塑有天然橡膠、人工橡膠、硅膠或塑料膠粒制成的防滑層。附件2為CN101003169A的中國發明專利申請公布說明書,其公開了一種帶有加強芯和防滑條的長桿狀工具手柄的兩次成型方法,并具體公開了:長桿狀工具手柄包括加強芯3,材料為玻璃鋼或天然材料或金屬材料或塑料,用注塑或模壓方式在加強芯3表面上復合一層防滑條7,其中防滑條7剛好位于工作時手握處,防滑條7的材料選用普通橡膠或硫化橡膠或熱塑彈性材料或改性彈性材料。

附件1:CN1827194A附圖

附件2:CN101003169A附圖
被訴決定認為:區別技術特征(1)注塑成型和模壓制成型是本領域兩種常用的用于塑料等材料的成型工藝;區別技術特征(2)玻璃纖維是本領域公知的塑料添加纖維,技術效果可以預料;區別技術特征(3)被附件2公開,有結合啟示,技術效果能夠預料。因此,權利要求1相對于附件1、2以及本領域公知常識的結合不具備創造性。
原告訴訟的主要理由為:附件2與涉案專利的領域完全不同,不能用于評價創造性,因此,涉案專利權利要求1具備創造性。
法院觀點
法院認為,因實用新型專利與發明專利在創造性上的區別體現為創造性程度的高低,而創造性程度與技術領域并無必然聯系,故即便被結合的現有技術與實用新型專利并非相同、相近或相關技術領域,亦不意味著該實用新型專利必然具有創造性,仍需考慮該技術方案對于本領域技術人員而言是否容易想到。
附件2中披露的手柄防滑手段在附件2中所起的作用與本專利權利要求1中防滑層所起的作用并無不同,均是用以加強手柄的防滑功能。在無證據證明存在結合障礙的情況下,本領域技術人員基于乒乓球拍的使用需求,在附件2的基礎上將其防滑條位置進行適應性調整,并與附件1相結合以獲得本專利無需創造性勞動。
實務啟示
《專利審查指南》第四部分第六章第4節規定了實用新型專利創造性要求與發明專利有所不同,具體可以參見下表:

由此可知,對于實用新型專利而言,在進行創造性評價時,其對比文件應著重從相同的領域選擇。但是,也并不是說完全不能選擇相近或者相關的技術領域的現有技術,主要是看是否有明確的啟示。這意味著,我們在實務中需要根據實際解決的技術問題的指引,尋找帶有“明確的啟示”的現有技術作為對比文件。
案例6:(2020)最高法知行終383號
201420052110.8便攜式頻譜儀[vi]
案件背景
被訴決定系被上訴人國家知識產權局針對上訴人廣東駿豐頻譜股份有限公司(以下簡稱駿豐公司)擁有的名稱為“便攜式頻譜儀”的第201420052110.8號(CN203829490U)實用新型專利(簡稱涉案專利)所提無效請求作出的33249號專利無效請求審查決定(簡稱被訴決定)。根據涉案專利說明書的記載,涉案專利屬于頻譜保健治療領域,尤其涉及一種利用紅外輻射的保健治療儀。
本案訴爭焦點主要在獨立權利要求1的創造性問題。權利要求1:
“一種便攜式頻譜儀,包括一本體,所述本體帶有能產生紅外輻射的頻譜發生器,其特征在于,所述本體包括上轉體、上轉軸、中轉體、下轉軸、手柄,所述上轉體與所述中轉體通過上轉軸轉動連接,所述中轉體與手柄通過下轉軸轉動連接,所述上轉軸與下轉軸垂直;所述頻譜發生器位于所述上轉體內,所述上轉體與所述頻譜發生器的輻射面相對應的一面設有柵格,所述頻譜發生器所產生的紅外輻射可透過所述柵格。”

CN203829490U便攜式頻譜儀附圖
無效請求人北京周林頻譜科技有限公司(以下簡稱周林公司)針對權利要求1主要提交了兩份證據,證據1,第CN302124388S號中國外觀設計專利,公開了一種便攜式頻譜儀,并具體公開了:便攜式頻譜儀,用于局部照射,改善血液循環,促進新陳代謝,消除腫脹,活血化瘀,用于局部損傷的輔助治療和保健。證據12,CN202859585U號中國實用新型專利,公開了一種多功能按摩椅,并具體公開了:按摩椅包括旋轉式紅外線桌板,桌板上設有紅外線保健裝置6,可選用紅外線、磁石、鈾玉等材質制成,紅外線保健裝置正常工作時可以覆蓋人體大腿及膝蓋部位,改善血液循環,桌架連接桿的一端設于第一缺口槽內并通過第一銷軸連接,桌架連接桿(相當于手柄)的另一端設有第二缺口槽,轉動塊(相當于中轉體)設于第二缺口槽內并通過第二銷軸(相當于下轉軸)連接,所述轉動塊上設有第三缺口槽,桌板固定架(相當于上轉體)上的旋轉部設于第三缺口槽內并通過第三銷軸(相當于上轉軸)連接,這樣的結構比較簡單,連接、旋轉比較可靠。這樣的結構可以使桌板翻轉和旋轉,使桌板沿固定點實現360度旋轉,便于旋轉式紅外線桌板的安裝,同時也便于滿足客戶的需要。

證據1:CN302124388S附圖

證據12:CN202859585U附圖
被訴決定認為:權利要求1相對于證據1的區別技術特征為:轉軸、下轉軸,所述上轉體與所述中轉體通過上轉軸轉動連接,所述中轉體與所述手柄通過下轉軸轉動連接,所述上轉軸與下轉軸垂直。實際解決的技術問題為:如何連接上轉體、中轉體和手柄并實現多角度調整。
證據12中的旋轉式紅外線桌板也可以實現360度旋轉,滿足客戶的需要,上述特征在證據12中起到的作用與該特征在權利要求1中的作用相同,都是實現多角度調整,因此證據12給出了將上述特征應用于證據1的啟示。因此,權利要求1相對于證據1、12以及本領域公知常識的結合不具備創造性。
原告訴訟的主要理由為:(1)在認定發明實際解決的技術問題時,應當基于技術效果來確定。因此,技術問題應為:通過連接上轉體、中轉體和手柄實現多角度調整以實現便于攜帶。(2)證據12的領域差距過大,多功能按摩椅不存在便于攜帶的問題,沒有啟示。
法院觀點
法院認為,對于實際解決技術問題的認定著眼于區別技術特征在整體技術方案中所直接起到的技術效果,本專利權利要求1相對于證據1的區別特征的實質在于,通過轉軸的設置使得上轉體及中轉體可繞軸轉動,而該技術手段所直接導致的技術效果即為被訴決定中所認定的對于上轉體及中轉體實現多角度調整。針對原告主張權利要求1具有便攜這一技術效果,法院認為,因在考慮結合啟示時僅需考慮區別技術特征所實際解決的技術問題,而便攜這一技術效果客觀上并非單獨由區別技術特征所直接導致,故對于該技術問題在考慮結合啟示時無需考慮。駿豐公司上訴主張原審判決認定的“多角度調整”實質上只是一種技術手段,并非一種技術效果,其實際上是將技術問題的確定限定在了與技術效果相關的技術問題中,限縮了對技術啟示的范圍,既不符合創造性評價的審查實踐,也無法律依據。
創造性程度與技術領域并無必然聯系,故即便被結合的現有技術與實用新型專利并非相同、相近或相關技術領域,亦不意味著該實用新型專利必然具有創造性,仍需考慮該技術方案對于本領域技術人員而言是否容易想到。現有技術中給出明確的啟示,例如現有技術中有明確的記載,促使本領域的技術人員到相近或者相關的技術領域尋找有關技術手段的,可以考慮其相近或者相關的技術領域。證據12公開的一種多功能按摩椅,包括了具有紅外線保健功能的紅外線保健裝置,紅外線保健裝置與本專利所屬技術領域相近,并非是不同的技術領域,因此,可以考慮該相近技術領域是否存在技術啟示。證據12公開的按摩椅的旋轉式紅外線桌板中具體公開了桌板固定架(相當于上轉體)、轉動塊(相當于中轉體)及桌架連接桿(相當于手柄),上述三部件之間分別通過第三銷軸(相當于上轉軸)及第二銷軸(相當于下轉軸)連接,且第二銷軸和第三銷軸相互垂直??梢?,證據12中公開了本專利權利要求1對于證據1的區別技術特征上轉軸、下轉軸,以及“所述上轉體與所述中轉體通過上轉軸轉動連接,所述中轉體與所述手柄通過下轉軸轉動連接,所述上轉軸與下轉軸垂直”。因證據12的上述技術手段所實際解決的技術問題與本專利與證據1的區別技術特征實際解決的技術問題均為調整使用角度,故本領域技術人員有動機將該技術手段應用于證據1以得到本專利權利要求1的技術方案,且無需創造性勞動。
實務啟示
《專利審查指南》第二部分第七章5.3規定:功能類似或應用類似的技術領域是根據申請文件中揭示出的申請的主題所必須具備的本質功能或者用途來確定,而不是只根據申請的主題的名稱,或者申請文件中明確指出的特定功能或者特定應用來確定。
因此,在認定實用新型專利的現有技術的相近或者相關技術領域時,應該綜合考慮其公開的技術方案中具備的本質功能或者用途來確定,不能受限于現有技術文件中指出的某個特定功能或者特定應用。
案例7:(2018)京73行初5186號
200720051346.X一種充氣式球門[vii]
案件背景
被訴決定系被告國家知識產權局針對原告梁廣仁擁有的名稱為“一種充氣式球門”的第200720051346.X號(CN201049185Y)實用新型專利(簡稱涉案專利)所提無效請求作出的34844號專利無效請求審查決定(簡稱被訴決定)。
本案訴爭焦點主要在獨立權利要求1的創造性問題。經修改的權利要求1為:
“一種充氣式球門,其包括:若干軟管;若干球門連接裝置,所述球門連接裝置用于連接所述軟管;所述若干軟管連接成球門狀,其中,所述若干球門連接裝置中至少一個具有充/排氣閥,其特征在于:所述球門連接裝置進一步包括:至少兩個接頭,所述接頭前端具有倒齒;固套,所述固套放置于所述接頭中以支撐所述接頭;以及外環;所述外環套在所述倒齒上。”

CN201049185Y一種充氣式球門附圖
無被訴決定針對權利要求1的創造性主要涉及廣州市毅拓體育用品有限公司(簡稱毅拓公司)、紹興市太一文具有限公司(簡稱太一公司)提交的兩份證據,附件1,公開號為GB2422322A的英國專利,公開一種充氣運動球門。附件3,授權公告號為CN2230865Y的中國實用新型專利,其公開了一種上水管接頭。

附件1:GB2422322A運動球門附圖

附件3:CN2230865Y上水管接頭附圖
被訴決定認為:附件1中所述的“單個空心的連接體”相應于本專利權利要求1中所述的連接裝置,附件1中所述的充氣式球門的連接體包括多個本專利權利要求1中所述的“接頭”,本專利權利要求1和附件1的區別在于:(1)所述接頭前端具有倒齒;(2)固套,所述固套放置于所述接頭中以支撐所述接頭;以及(3)外環,所述外環套在軟管外而將軟管緊壓在所述倒齒上。實際解決的技術問題為:改進分體式充氣球門接頭之間的連接方式,提供防止接頭之間漏氣的連接裝置。
附件3中公開了上述區別技術特征的連接方式,且公開了所述的“固套”、“倒齒”、“外環”具體特征,作用與權利要求1相同。本領域技術人員有動機采用上述區別特征改進附件1從而獲得本專利權利要求1的技術方案,本專利權利要求1的技術方案對本領域的技術人員而言是顯而易見的,不符合專利法第22條第3款的規定。
針對梁廣仁強調的附件3與本專利不屬于同一技術領域,本專利是對氣體的密封,附件3涉及的是對水的密封,兩者差別大,對氣密性、壓力等要求不相同,附件1、3不具備結合的啟示,被訴決定認為:雖然水管與接頭之間的密封和氣管與接頭之間的密封雖然存在差別,但兩者類似,達到防止管中的流體泄漏是連接的基本要求,本領域技術人員在面對充氣管之間的連接時,為避免漏氣,結合其知曉的普通技術知識,會促使其到常用的軟管連接裝置,如水管連接裝置中尋找相關技術手段,由此,對氣密性、壓力等要求不相同并不妨礙本領域技術人員采用附件3改進附件1,而且,將附件3公開的連接方式結合本領域的常規技術改進后用于附件1并不存在技術上障礙,是出于提高分體式充氣球門接頭之間的連接密封性能的需要,這也是通常的需求。
法院觀點
法院認為,雖然對實用新型專利的創造性審查中,在判斷現有技術中是否存在相關技術啟示時,一般著重于考慮該實用新型專利所屬的技術領域,但是如果現有技術中給出明確的啟示,促使本領域的技術人員到相近或者相關的技術領域尋找有關技術手段的,可以考慮其相近或者相關的技術領域。雖然附件3公開了一種上水管接頭,而非充氣式球門,二者領域不同,但在本案中,本領域技術人員在面對如何改進軟管與連接裝置的連接方式以使密封性更好這一普遍問題時,有動機借鑒生活中常用的連接方式,正如被訴決定的示例那樣,例如水管連接接頭的密封、煤氣管道連接接頭的密封等。上述連接方式屬于生活常識中給出的明確啟示情形。即便水管與接頭之間的密封和氣管與接頭之間的密封存在差別,但不能忽略兩者均有防止管中的流體泄漏的共同屬性,這也屬于連接的基本要求,本領域技術人員在面對充氣管之間的連接時,對氣密性、壓力等要求不同,進一步結合其知曉的普通技術知識,進行相應調整即可,并不存在明顯技術結合障礙。為了解決軟管與軟管連接的密封性問題,本領域技術人員有動機采用附件3公開的管連接裝置應用在附件1中從而獲得涉案專利權利要求1的技術方案,涉案專利權利要求1相對于附件1和附件3的結合不具備創造性。
實務啟示
《專利審查指南》第二部分第四章2.4對“所屬技術領域的技術人員”的知識和能力進行了界定:他知曉申請日或者優先權日之前發明所屬技術領域所有的普通技術知識,能夠獲知該領域中所有的現有技術,并且具有應用該日期之前常規實驗手段的能力,但他不具有創造能力。如果所要解決的技術問題能夠促使本領域的技術人員在其他技術領域尋找技術手段,他也應具有從該其他技術領域中獲知該申請日或者優先權日之前的相關現有技術、普通技術知識和常規實驗手段的能力。
因此,實務中,在運用“三步法”重新定位區別特征實際解決的技術問題時,需要注意應用領域和技術手段的關聯性判斷。如果技術問題涉及具體應用領域的“個性的特定問題”,則一般來說,應用領域對區別技術特征具有限定作用,不能將兩者割裂開來,換言之,所屬領域技術人員不會有動機去其他領域尋找解決技術問題的技術手段。如果技術問題涉及的是可能在不同應用領域內普遍的共性技術問題,則所屬領域技術人員結合其應有的能力,在該技術問題促使下,有動機跨領域尋找解決技術問題的技術手段。這也不失是我們在實務中選擇用于結合的對比文件的領域范圍的判斷方法。
參考文獻
[i] 《專利授權確權審判案析(2014-2024)》,第56-57頁。
[ii] 《專利授權確權審判案析(2014-2024)》,第53-55頁。
[iii] 《專利授權確權審判案析(2014-2024)》,第55-56頁。
[iv] 《專利授權確權審判案析(2014-2024)》,第23-24頁。
[v] 《專利授權確權審判案析(2014-2024)》,第43-44頁。
[vi] 《專利授權確權審判案析(2014-2024)》,第58-59頁。
[vii] 《專利授權確權審判案析(2014-2024)》,第59-60頁。